
图1:B/E Aerospace设计的间距可调座椅
据Skift报道,B/E Aerospace申请了一项新经济舱座位概念专利,该款座椅可使高个子乘客享受到更舒适的座椅空间。
该款座椅的设计师表示:“即使对座椅间距增加一点点也可以为高个乘客带来更多的舒适感,同时也不影响前座体形更小的乘客。”身材较矮的乘客和儿童可以将座椅向前调整,从而为后座的高个乘客增加空间,与此同时,他们也可以离前面的小桌板更近些。
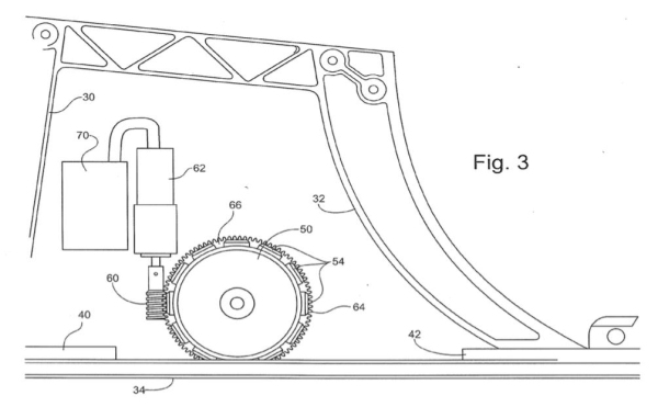
在这一创新型系统中,座椅安装在标准飞机座椅调节导轨上,但紧固件都安装在齿轮组上,以便使航空公司按需对座椅进行前后调整。目前其它一些可调整座椅的方案都依赖于特殊座椅调节导轨的安装,安装和维护复杂。

图2:座椅概念图示

图3:座椅概念图示

图4:智能座椅可以实现无线调节
设计师提出了一种可以实现无线调节座椅的方法——登机前乘客在平板电脑或其它手持电子设备上安装专属的应用程序,点击屏幕即可利用“智能空间无线驱动器”调整座椅。
航空公司越来越非常关切客舱密度,该概念座椅不仅能根据不同的乘客体形调整座椅间距,还保持了客舱布局不变。
对于设计师而言,该款座椅概念的本质在于突破了座椅间距相同的限制,承认现实中的乘客体形各不相同。设计师称:“乘客的体形和类型多种多样,不同类型的乘客身高差异很大,但除了出口的座椅外,主客舱所有座椅的间隔都大致相同。这种单一尺寸的座椅安排可能会给高个乘客造成不适,而矮个乘客和儿童坐在同等间隔的座椅上可能会出现伸腿空间过多的情况,而且舒适度并没有提升。”
目前航空业的人体测量标准基于过时的人口数据,这些数据可以追溯到上世纪70年代或者更早,并没有根据现代旅客增加的身高和体重进行调整。这个问题影响到座椅设计和测试的诸多因素。目前航空业正在努力更新这些数据,但改变的过程将非常漫长,因此还有很远的路要走。
无需特殊改变的可调节座椅完美解决了现代高个乘客的困境。虽然该款概念座椅并没有做出太多的承诺——可调整的间距是的有限的——但每增加一寸空间都会使高个乘客获得更多舒适感。
该座椅最终成为现实还需要乘客提供包括身高在内的数据,但一些乘客应该乐于将这些大数据分享给航空公司以交换个性化的座椅调节。
虽然目前这只是个概念,但这些座椅可以利用现有的座椅调节导轨,在其它设计特点上与现有座椅相似,并且满足与固定座椅相同的撞击标准,相对其它不切实际的创意而言,这种概念更容易变成现实。(李晓燕/编译)
《高个旅客的福音:飞机座椅间距可以轻松调整》原文地址
新闻来源:民航资源网